Route Locking Circuit Railway Signalling
Locking of Route
- In free wired interlocking systems, locking of route is bifurcated into two distinct parts :-
1) Approach Locking – Achieved by dropping of ALSR relay at the time of signal clearance.
2)Back Locking which is popularly called ‘Route Locking’ – Achieved by dropping of USR relays in sequence.
- Definition:
- The locking of any route from a signal including overlap beyond the exit signal when the driver has seen or may have seen a proceed aspect at a signal that would indicate to the driver that the former signal is displaying a proceed aspect.
- Application:
- This means that the locking should be applied before the display of proceed aspect. This can either the ‘signal controls off ‘ stage or at any other earlier interlocking stage as specified by control table.
Type of Approach Locking
- Approach locking are of two types:
1)Comprehensive approach locking – The locking is applied only when a train would be affected by shortening of its movement authority. It is provided where necessary for operational reasons when the time delayed release of approach release (Dead approach locking) would be detrimental to the working of trains.
2)Approach locking when cleared – The locking is applied whenever the movement authority is given. It is released after a time delay.
- Release of approach locking can be initiated in two ways.
1)Manual request from the signaller in the form of pulling of the concerned signal button
2)Train passing the signal at OFF and continuing its journey.
ROUTE STICK RELAYS
| Relay | Description |
| USR↑ | Route stick relay. Provided for every track circuit . Slow to pick up relay. Drops when route locking is applied in the form of unlatching Route NLR. |
| (OL)USR↑ | Overlap route stick relay. Provided for Trailing points in Overlap. Slow to pick up relay. |
| Point NLR | Normal point lock relay.Magnetically latched. It corresponds to the last operated position of the point. |
| Point RLR | Reverse point lock relay.Magnetically latched. It corresponds to the last operated position of the point. |
| WZR ↑ | Must be energised to unlatch the Point NLR & RLR. De-energised whenever the points are in use in a route or called by the individual point key. |
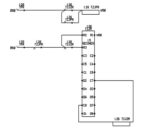
| TZJR ↓ | Track special timer relay. One for each USR. Set for 15 seconds. |
| TZJSR↓ | Track special timer stick relay. One for each USR. |
| UKR ↑ | Route indication relay. Provided in place of USR required solely for indication purpose. No slow pickup relay. |
| TJR ↓ | Track down timer as shown $46 in control tables. |
| TJPR↓ | Track timer repeat relay. |
Route Locking
Route locking is applied as a whole from the entrance to the exit of route.
If there are points in the overlap beyond the exit, then route locking extends up to overlap.
With sectional route locking, every route section should drive a chain from the first track section past the signal to the extent of the overlap
The relays used to lock each part of the route are called USRs.
To avoid potential problems with the sectional route locking every track section should be provided with a separate USR.
USRs are normally energised when that section is free of route locking
USRs relays drops when route locking is applied
Where movements in both directions over a track circuit are possible, then two USRs are provided i.e (UP) USR & (DN)USR
When route is set, releasing the NLR de-energises the route stick relays.
Selection of USR chain at diverging junctions is achieved by point lock relays (Point NLR or RLR) to condition out cascade in the USR.
Where a USR is included in a point lock circuit, to apply route locking, the WZR of those points should be used to hold up the USR until the points are operated to required position.
This allows the point NLR and RLR to work correctly and has the effect of making the panel route lights operate in sequence.
Where an overlap is required, separate O/L USRs are provided.
As a train travels through the route, sections of the route locking release behind the movement but ahead of the train the route locking is maintained.
Release of Route and Overlap Locking
Operation of TORR or cancellation of route by signaller, with the signal ON and free of approach locking initiates the normalisation of the route locking behind the train.
The first USR past a signal should prove all routes from that signal normal before it can energise.
Each subsequent USR should prove the previous USR has energised & its own track section is clear, before it can pick up in ordinary condition.
Each USR which performs a locking function or releases a chain in which any USR performs a locking function should be a slow acting relay. This is to cater for the possibility of controlling track circuit false clearing beneath a train.
When USPR is generated, the cascade should be controlled by the last USPR & not the USR.
Where there is a particular risk, route locking being released under a train, additional precautions should be applied.
This precaution can be taken in two ways
1). A track section clear for 15 seconds
or
2). Track section required clear with track section in advance occupied.
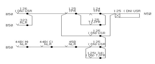
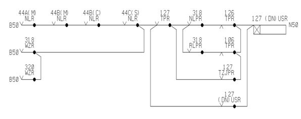
USR Circuit
Consider 44B(M) route
After Signalman sets 44B(M) route
44B(M) NLR unlatches ( NLR front contact broken)
First (DN)USR after the signal i.e 127(DN)USR drops (allows the points 318 & 320 are to set before dropping)
Dropping of 127 (DN)USR causes 126 (DN)USR to drop when route is set with points 318 normal.
Route locking will be effective up to 323 points.
Dropping of 126 (DN)USR causes 125 (DN)USR to drop when route sets with points 323 normal.
This extends the route locking up to the exit signal.
#THIS PATH ONLY REQUIRED IF SHUNT OR CALL ON ROUTE AVAILABLE IN UP DIRECTION OVER 125 TRACK WITH TRACK OCCUPIED
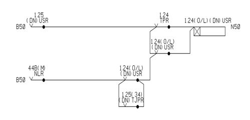
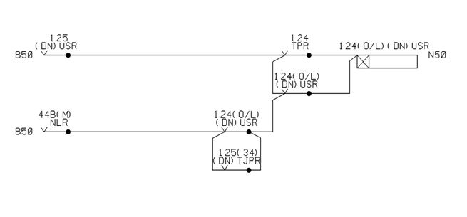
Overlap USR
Provided only if Locked points in Overlap
Dropping of 125(DN)USR causes 124(O/L) (DN)USR to drop.
Route locking extends to overlap.
124(O/L) (DN)USR should not drop for calling on movement
Effect of dropping of USR relays
De-energisation of all the USRs causes appear a row of white lights on the illuminated diagram along the length of the track in the line of route.
Proof of route locking being effective is included in signal GR circuit by proving back contact of Last USR in the cascade.
Sections of the route locking released behind the train is achieved by picking up USR in cascade.
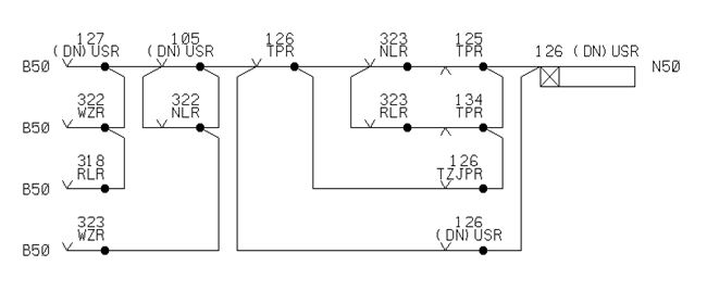
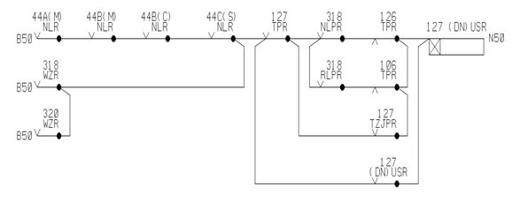
Releasing Route Locking
Consider train moment for 44B(M) route.
44B(M) NLR picks up after operation of TORR and with signal On and free of approach locking.
Train clears 127 Track and occupies 126 track .
127 (DN)USR picks up
Now point 318 is free of locking
126 (DN)USR picks up when train Clears 126 track and occupies 125 track provided that previous section has been released i.e 127 (DN)USR picks up.
126 track section route locking is released.
125 (DN)USR picks up when train clears 125 track and occupies 124 track provided 126 (DN)USR picks up
or
125 (DN)USR also can pick up with 125 track occupied for 34 seconds provided all the routes leading up to signal 73 signal normal. This is provided to allow opposite permissive moves on goods line.
Track clear Timer Circuit








